Quick overview:
Eigentlich sollen Patente helfen, die Ideen der Erfinder zu schützen. Doch inzwischen sind sie zu einem entscheidenden Wirtschafsfaktor mutiert – auch für Microsoft. Hier drei neue Patente aus Redmond, die demnächst für Aufsehen sorgen könnten.
Für IT-Firmen geht es heute um weit mehr als um Funktionen, Design und Preis ihrer Produkte. Patente sind inzwischen ebenfalls ein bestimmender Faktor. Gerade im Geschäft rund um Smartphones, Tablets und Software tobt mittlerweile ein milliardenschwerer Krieg. Microsoft gegen Google, Apple gegen Nokia, Samsung gegen HTC, Oracle gegen Google, Motorola gegen Apple, Microsoft gegen Samsung – die Gerichte haben alle Hände voll zu tun.
IT companies: prosecute patent infringements or market patents
Kein Wunder, denn wer ein Patent erhält, darf 20 Jahre lang exklusiv die dahinter stehende Idee verwerten: Darum pumpen Technologiegiganten wie Apple und Google neuerdings mehr Geld in neue Patente als in die Entwicklung neuer Produkte. Das Ziel, das dahinter steckt, ist klar: Marktmacht durch Patente auf innovative Erfindungen sichern und Geld verdienen. Falls die Konkurrenz die geschützte Technik einsetzen will, muss sie dafür zahlen. Die Devise: Patentverletzungen können juristisch verfolgt werden, aber Patente können mitunter auch erfolgreich vermarktet werden.
Allein Microsoft kassiert für Android-Patente rund zwei Milliarden US-Dollar, schätzen Experten. Denn im mobilen Google-Betriebssystem stecken 127 Microsoft-Patente. Doch was hat Microsoft noch im Köcher beziehungsweise was planen die Redmonder für die Zukunft? Drei interessante Beispiele.
1st patent: Task cloud for Windows Phone
Wer kennt sie nicht, die so genannten Cloud-Tags auf Internetseiten, in denen die aktuell meistgesuchten Begriffe besonders groß und prominent auftauchen?
So etwas in der Art plant Microsoft anscheinend für sein mobiles Betriebssystem Windows Phone. Denn das US-Patentamt hat vor kurzem ein neues Patent namens „Persönliche Cloud für mobilen Aufgaben” veröffentlicht.
Es dient der Anzeige von häufig genutzten Apps und Kontakten. Beispiel: Wer oft seine Freundin anruft, bekommt den entsprechenden Kontakt im Telefonbuch viel größer angezeigt, als etwa den Weihnachtsbaumhändler, der nur einem im Jahr eine Rolle spielt. Die Größe soll sogar zeitsensitiv ausfallen: Wenn etwa jeden Samstag Bundesliga mit dem besten Kumpel ansteht, erscheint der Kontakt just an diesem Tag größer.
2nd patent: Are Microsoft glasses coming?
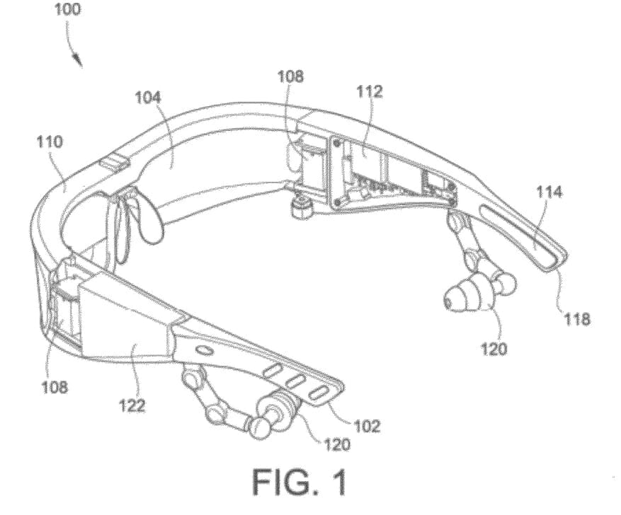
Die US-Seite "TechCrunch" berichtete vor kurzem, dass Microsoft sich Anfang des Jahres 75 beantragte Patente des Wearable-Spezialisten Osterhout Design Group einverleibt hat (siehe auch Bild oben).
Kolportierter Kostenpunkt: Schlappe 150 Millionen US-Dollar. Der Schluss liegt nahe, das damit ein ähnliches Konzept wie Google Glass in der Mache ist, also eine unauffällige Tech-Brille samt Mehrkern-Prozessor, WLAN, Bluetooth, GPS und diverser Sensoren.
3rd patent: Gesture control for the desk
Gestensteuerung gehört schon länger zu Microsofts Steckenpferden, Kinect lässt grüßen. Das ganze steckt aber seit geraumer Zeit im Spielebereich fest. Experten sind allerdings sicher, dass der gestenbasierten Steuerung die Zukunft gehört.
Denn mit ihrer Hilfe können beispielsweise wesentlich komplexere Befehle an eine Maschine gegeben werden als mit einer Maus. Microsoft will so seine Technik in eine Tastatur einbauen, wie ein aktuelles Patent verrät. Diese arbeitet offenbar mit Hilfe von einzelnen Lichtpunkten.
Hier ein Demo-Video, das die Technik erklärt:
Bild oben: Osterhout Group, Inc. / www.google.com/patents/US8477425 (Screenshot)
On Windows Tweaks you will find time-saving tech guides for PC, software & Microsoft. For a stress-free digital everyday life. Already We have been tweaking Windows since 1998 and just don't stop!




